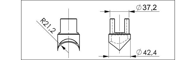
Anschlussstück V2A/Ru

342,90 €
inkl. 19% USt. , zzgl. Versand (Standard)
  • Sofort verfügbar
  • Lieferzeit: 1 - 3 Werktage (DE - Ausland abweichend)
Paar